Art.Nr.: 251143
- Modell: BLANCOLARESSA F 521545
- UNTERFENSTERARMATUR

- Markenprodukt der Firma BLANCO
- KÜCHENARMATUR / SPÜLTISCHARMATUR
- Einhebelmischer 521 545
- Oberfläche: Chrom
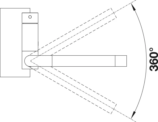
- Höhe: 310mm
- Ausladung: 197mm
- Auslauf 360° schwenkbar
- Hahnlochbohrung mit Ø 35 mm erforderlich
- Kartusche mit keramischen Dichtungen
- Komfortabler Klapp-Mechanismus zum seitlichen Umlegen der Armatur
- Gedämpfter Klapp-Vorgang und sicheres Einrasten
- Mindestabstand zwischen Spüle und Fensterflügel 6,5cm
- Anordnung des seitlichen Hebels: rechts
- Flexible Anschlussschläuche mit 500 mm Länge und 3/8'' Mutter für besonders leichte und sichere Montage
- Hochdruck-Armatur

LARESSA
elegante Vorfensterarmatur
Unsere Küchenarmatur LARESSA-F ist eine Vorfenster-Armatur in moderner Optik. Das Besondere: Sie können den Auslauf mit einem Griff umklappen und im Becken versenken; der verbleibende Aufbau ist weniger als 7 cm hoch. Und durch die optimierte Bauhöhe versenken Sie den Auslauf sicher im Becken ohne anzustoßen. Der gedämpfte Klapp-Vorgang und das Einrasten der Armatur sorgen für eine lange Lebensdauer der Mechanik. Beim seitlichen Bedienhebel haben Sie die Wahl zwischen Links- oder Rechtsausführung. Der elegante Auslauf erleichtert nicht nur das Befüllen von Töpfen und Vasen, sondern bereichert Ihre Küche auch um ein zusätzliches Designelement.
Vorfenster-Armaturen zum Klappen
An einem Fensterplatz zu arbeiten ist auch in der Küche von großem Vorteil. Mit einem Armaturenprogramm zum Vorfenstereinbau, bietet BLANCO optimale Lösungen für Spülen mit Blick nach draußen an. Die moderne Vorfenster-Armatur LARESSA-F ist mit einer komfortablen Klappmechanik ausgestattet. Mit nur einer Bewegung lässt sie sich in Sekundenschnelle einklappen und in das Becken absenken. So können Sie das Fenster schnell und weit öffnen, da der Auslauf komplett ins Becken abtaucht. Im umgeklappten Zustand ist der Aufbau der Armatur nur noch 6,5 cm hoch. Ein hörbares Einrasten am oberen und unteren Anschlag, ist ein sicheres Zeichen dafür, dass sich die Armatur wieder in voll funktionsfähiger Position befindet. Besonders praktisch ist auch der seitliche Bedienhebel, wählbar in Links- oder Rechtsausführung sowie der hohe Auslauf der LARESSA-F, der einfaches Befüllen von hohen Gefäßen garantiert. Dank dieser komfortablen Technik genießen Sie ein völlig neues Gefühl an der Spüle bei weit geöffnetem Fenster.
Optionen:
- Anschluss Zulauf: Hochdruck
- Griffposition: Griff rechts
- Oberfläche: Chrom
Preis:
282,95 €